Das neue Zoom-Patent von Huawei könnte das Xiaomi 16 Ultra inspirieren

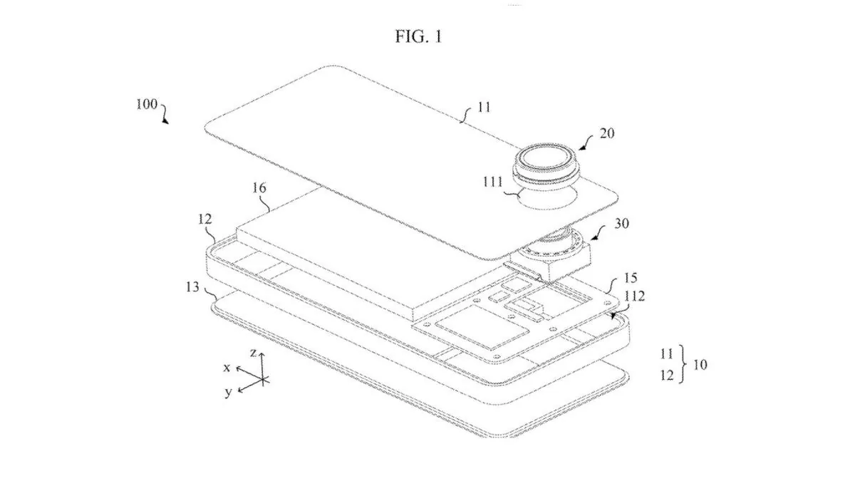
Das soeben genehmigte Patent von Huawei für ein einziehbares Periskop-Kamerasystem schlägt Wellen in der Smartphone-Welt – und Xiaomi-Fans spekulieren bereits, ob diese Innovation ihren Weg in das Xiaomi 16 Ultra finden könnte. Wie der glaubwürdige Tippgeber @xleaks7 auf X (Twitter) berichtet, wurde das Huawei-Patent gerade vom United States Patent and Trademark Office (USPTO) akzeptiert. Es zielt darauf ab, die Qualität des Zooms zu verbessern, indem die Linsenbaugruppe mithilfe eines Motors näher an den Bildsensor heran- oder von ihm wegbewegt wird, ohne dass dabei die Dicke beeinträchtigt wird. Während Xiaomi sein nächstes Flaggschiff vorbereitet, wirf einen Blick darauf, was du von HyperOS 2.2 erwarten kannst, oder sieh dir die Kameraverbesserungen des Xiaomi 15 Ultra an.

Eine neue Herangehensweise an das Zoomen ohne klobige Kamerabuckel

In den letzten Jahren wurden die Smartphones immer dicker und mit immer ausgefeilteren Kameras ausgestattet, insbesondere mit Teleobjektiven. Das schlanke und bündige Design, das einst charakteristisch für Flaggschiffe war, wich großen Sensormodulen. Die Lösung von Huawei sieht die Verwendung einer einziehbaren Zoomkamera vor, bei der ein Motor die Kamerabaugruppe im Gehäuse bewegt, um den Fokusabstand und die Zoomfunktion anzupassen. Im Ruhezustand wird das Objektiv eingezogen, sodass die Rückseite sauber und glatt bleibt.

Könnte Xiaomi dieses Design nachahmen?

Eine solche Zoomlösung würde perfekt zu Xiaomis Bestreben passen, die Kameratechnik der Ultra-Serie zu erneuern. Das Xiaomi 16 Ultra, das angeblich Ende 2024 oder Anfang 2025 auf den Markt kommen soll, könnte ein einziehbares Objektiv verwenden, um einen dünnen Formfaktor mit fortschrittlichen Teleobjektivfähigkeiten zu verbinden. Wir wissen, dass Xiaomi bereits eine Vorliebe dafür hat, die Grenzen der Bildgebung zu verschieben – vielleicht wird Huawei dieses Mal eine Inspiration sein, der man folgen kann.

Die wichtigsten Vorteile des Patents für die einziehbare Kamera

  • Motorbetriebenes Zoom-Element für eine präzisere Fokussierung
  • Keine umständliche Periskop-Ausrüstung mehr erforderlich
  • Versteckt das Kameramodul, wenn es nicht benutzt wird
  • Behält das schlanke Smartphone-Design bei

Wenn Xiaomi ein identisches Konzept umsetzt, könnte das 16 Ultra sein bisher leistungsstärkstes und schlankstes Kamera-Smartphone werden.

Quelle: ITHome

MemeOS Enhancer Download
Avatar for Emir Bardakçı

Emir Bardakçı

Co-founder & HyperOS Expert

Keeping a pulse on Xiaomi, HyperOS, and the Android world. Tech enthusiast, photography lover, and detailed reviewer.

Leave a Reply

Your email address will not be published. Required fields are marked *